完善主体资料,免费赠送VIP会员!
* 主体类型
* 企业名称
* 信用代码
* 所在行业
* 企业规模
* 所在职位
* 姓名
* 所在行业
* 学历
* 工作性质
请先选择行业
您还可以选择以下福利:
行业福利,领完即止!

下载app免费领取会员

NULL

ad.jpg

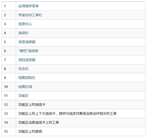
BIM建模软件之Revit—Revit用户界面详细说明

发布于:2017-11-25 13:03:53
首页/BIM专题
分享